表面の汚れは、柔らかい布でから拭きします。
汚れがひどい場合は、水または水で薄めた中性洗剤を含ませた布を、固く絞って拭き取ってください。中性洗剤を使用して拭いた場合は、水に浸した布を固く絞って中性洗剤を拭き取ってください。また、拭き取りの際は、マウス内部に水が入らないよう充分に注意してください。なお、シンナーやベンジンなど揮発性の強いものや、化学ぞうきんは絶対に使わないでください。
また、PS/2マウスのボールがスムーズに回転しないときは、ボールを取り外してクリーニングします。ボールのクリーニング方法は、次のとおりです。
-
- マウス底面にある裏ブタを、矢印の方向に回して取り外します。
-
- マウスをひっくり返し、ボールを取り出します。その後、ボールを水洗いします。
-
- マウス内部、および裏ブタを、水に浸して固くしぼった布で拭きます。
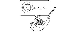
ローラーは、綿棒で拭きます。
-
- ボールとマウスの内部を充分乾燥させたら、ボールと裏ブタを取り付けます。