1 各部の名称と働き
ここでは、パソコン本体、マザーボードの各部の名称と働きを説明します。
これ以降の記述については、縦置きを前提としています。横置きにする場合は、読み替えてください。
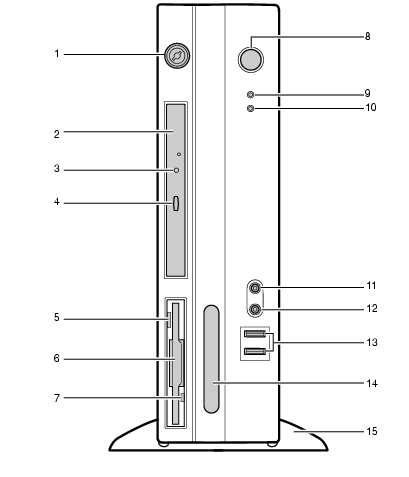
パソコン本体前面
鍵穴
カスタムメイドで本体カバーキー追加を選択している場合、添付の本体カバーキーで、本体カバーを施錠します。
施錠する場合は、お客様の責任で、本体カバーキーを紛失しないようにしてください。
本体カバーキーを紛失した場合は、引取修理による本体カバーの交換が必要となります。「富士通ハードウェア修理相談センター」にご連絡ください。
なお、保証期間にかかわらず鍵の紛失による本体カバーの交換は有償となります。
本体カバーキーを紛失した場合は、訪問修理の際も即日修理ができません。
引取修理になりますので、あらかじめご了承ください。
CD-ROMドライブ
CD-ROMのデータやプログラムを読み出したり、音楽CDを再生したりします。
カスタムメイド、またはバリューラインの選択によっては、次のドライブが取り付けられています。
DVD-ROM&CD-R/RWドライブ
スーパーマルチドライブ
CDアクセスランプ
CD-ROMからデータを読み込んでいるときや音楽CDを再生しているときに点灯します。
CD取り出しボタン
CD-ROMや音楽CDをセットするときや取り出すときに押します。パソコン本体の電源が入っているときにお使いになれます。CDアクセスランプが点灯しているときは、押さないでください。
フロッピーディスク取り出しボタン
フロッピーディスクを取り出すときに押します。
フロッピーディスクアクセスランプが点灯しているときは、押さないでください。
フロッピーディスクドライブ
フロッピーディスクにデータを書き込んだり、フロッピーディスクからデータを読み出したりします。
フロッピーディスクアクセスランプ
フロッピーディスクにデータを書き込んだり、フロッピーディスクからデータを読み出したりしているときに点灯します。
電源ボタン
次の場合に押します。
パソコン本体の電源を入れるとき
スタンバイ状態(省電力状態)にするとき
スタンバイ状態から復帰(レジューム)するとき
電源ランプ
パソコン本体の電源の状態を表しています。
緑色に点灯しているときは、電源が入っています。
オレンジ色に点灯しているときは、スタンバイ状態(省電力状態)です。
ディスクアクセスランプ
ハードディスクにデータを書き込んだり、ハードディスクからデータを読み出したりしているときに点灯します。また、CD-ROMドライブによっては、CDにアクセスしているときに点灯する場合があります。
マイク端子(
)
市販のコンデンサマイクを接続します。
ヘッドホン端子(
)
市販のヘッドホンを接続します。
USBコネクタ
USB規格の周辺機器を接続します。USB2.0に準拠しています。
スマートカードベイ
カスタムメイドで選択したスマートカードリーダ/ライタを取り付けます。
フット
本パソコンをお使いになるときに取り付ける台座です。
縦置きするときには、転倒防止となります。
なお、マウスやキーボードのケーブルは、フットの溝に通してまとめることができます(→『取扱説明書』)。
All Rights Reserved, Copyright© FUJITSU LIMITED 2004