5 タッチパネルユニットを取り付ける
別売オプションのタッチパネルユニット(FMV-CXTP3)を取り付けると、画面上をスタイラスペンでポイントしてマウスポインタを操作できます。
タッチパネルユニットは、15型ディスプレイモデルのみ取り付けることができます。
タッチパネルユニットの取り付け方
タッチパネルユニットを取り付ける前に、パソコン本体前面のマジックテープを貼る箇所の汚れを拭き取ってください。
パソコン本体の電源を切ります。
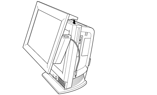
タッチパネルユニットをパソコン本体に取り付けます。
タッチパネルユニット裏面のマジックテープ保護フィルム(2ヶ所)をはがしてからパソコン本体に取り付けてください。
タッチパネルユニットをマジックテープで固定します。
パソコン本体に、マジックテープが貼ってある部分(図の点線部分)を押し付けてください。
マジックテープを取り付け後、ある程度強くタッチパネルユニットの上からマジックテープを押してください。
マジックテープを取り付け後、1日程タッチパネルユニットをパソコン本体に取り付けた状態にしておいてください。すぐに取り外すと、マジックテープがパソコン本体からはがれてしまうおそれがあります。
タッチパネルユニットのUSBケーブルを、パソコン本体右側面のUSBコネクタに接続します。
タッチパネルユニットを使うための設定や使い方については、タッチパネルユニットのマニュアルをご覧ください。
All Rights Reserved, Copyright© FUJITSU LIMITED 2005