空冷用通風路
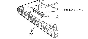
本パソコンは、性能を維持するために放熱用のファンを内蔵しています。放熱用ファンは、パソコン本体の外側と内側の間に空気の流れを作ってパソコン本体内部を冷却しているため、ご利用の環境によってはパソコン本体内部に周囲のほこりを取り込んでしまうことがあります。このほこりが徐々に蓄積していくと、パソコン本体が本来の性能を発揮できなくなる場合があります。
Windows Vistaモデルには、「お手入れナビ」というソフトウェアがインストールされています。「お手入れナビ」がパソコン本体内部の温度やパソコンの総利用時間をチェックし、お手入れの時期をお知らせします。
「パソコンの空冷用通風路にほこりが詰まっている可能性があります。」というメッセージが表示された場合、この後の手順に従って正しく清掃を行い、ほこりを取り除いてください。
「お手入れナビ」は、Windows XPモデルにはインストールされていません。
この後の手順に従い、定期的に清掃してください。


