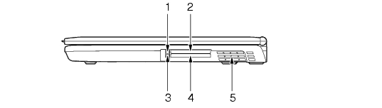
ワークステーション本体右側面
各番号をクリックすると説明箇所へジャンプします。
ExpressCard取り出しボタン
ExpressCardを取り出すときに押します。
「ハードウェア」−「ExpressCardを取り出す」
ExpressCardスロット
お使いになるExpressCardをセットするためのスロットです。
「ハードウェア」−「ExpressCardをセットする」
PCカード取り出しボタン
PCカードを取り出すときに押します。
「ハードウェア」−「PCカードを取り出す」
PCカードスロット
PCカードをセットするためのスロットです。
「ハードウェア」−「PCカードをセットする」
排気孔
ワークステーション本体内部の熱を外部に逃がすためのものです。
ワークステーションの電源を入れると、内部のファンが数秒間回転します。また、ワークステーション本体内部の温度が高くなると内部のファンが回転し、熱が放出されます。このため、起動時や動作中にファンによる回転音が発生しますが、ワークステーションの冷却のためであり、異常ではありません。
排気孔をふさがないでください。
内部に熱がこもり、火災の原因となることがあります。
排気孔からは熱風が出ます。排気孔付近には手を触れないでください。
排気孔の近くに物を置かないでください。排気孔からの熱で、排気孔の近くに置かれた物が熱くなることがあります。
All Rights Reserved, Copyright© FUJITSU LIMITED 2005