PCI規格の拡張カードを取り付ける
ワークステーション本体および接続されている機器の電源を切り、電源プラグをコンセントから抜きます。
縦置きにしている場合は、フットを取り外し、ワークステーション本体を横置きにします。
本体カバーを取り外します(
Click
)。
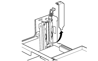
スロットカバーロックを押し上げます。
スロットカバーを取り外します。
取り外したスロットカバーは大切に保管してください。
拡張カードを取り外してお使いになる際、ワークステーション内部にゴミが入らないよう取り付けます。
拡張カードをコネクタに差し込みます。
拡張カードをコネクタにしっかりと差し込みます。
スロットカバーロックを戻して固定します。
本体カバーを取り付けます。
縦置きにする場合は、フットを取り付け、ワークステーション本体を縦置きにします。
電源プラグをコンセントに差し込み、本ワークステーションの電源を入れます。
デバイスドライバとリソースが自動的に設定され、拡張カードが使えるようになります。
拡張カードを取り外す場合は、取り付ける手順を参照してください。
拡張カードの取り付け後に画面にメッセージが表示された場合は、メッセージに従って操作してください。詳しくは、拡張カードや周辺機器のマニュアルをご覧ください。
拡張カードを使用する前に、デバイスマネージャに正しく登録されていることを確認してください。詳しくは、拡張カードや周辺機器のマニュアルをご覧ください。
All Rights Reserved, Copyright© FUJITSU LIMITED 2005