トップへ 前項目 次項目 索引

7 筐体のセキュリティ

パソコン内部の装置(ハードディスクやCPUなど)を盗難から守るため、本パソコンのカバーに施錠できます。

  1. アッパーカバーを取り外します。
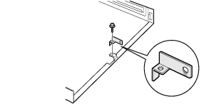
  2. 添付のセキュリティキー取り付け金具を、アッパーカバーの裏に取り付けます。
    ネジ(1ヶ所)で固定します。
画像

  1. アッパーカバーを取り付けます。
    本体背面のスリットに、セキュリティキー取り付け金具を通します。
画像

  1. セキュリティキー取り付け金具にお手持ちの鍵を取り付けます。
画像


トップへ 前項目 次項目 索引

All Rights Reserved, Copyright(c) FUJITSU LIMITED 2001