トップへ 前項目 次項目 索引

1 各部の名称と働き

ここでは、パソコン本体、マザーボードの各部の名称と働きを説明します。

重要

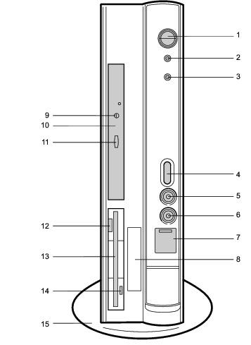
パソコン本体前面

画像

  1. 電源ボタン
    パソコン本体の電源を入れるときや切るとき、スタンバイ状態(省電力状態)にするときに押します。
  2. 電源ランプ
    パソコン本体に電源が入っているときに点灯します。
    動作しているときは緑色に、スタンバイ状態のときはオレンジ色に点灯します。
  3. ディスクアクセスランプ
    ハードディスクにデータを書き込んだり、ハードディスクからデータを読み出したりしているときに点灯します。
  4. 音量ボリューム
    ヘッドホンの音量を調節します。
    音量を大きくするときは上に、小さくするときは下に回します。
  5. ヘッドホン端子
    パソコンから出力される音や音楽CDを聴くときに、市販のヘッドホンを接続します。
  6. マイク端子
    市販のコンデンサマイクを接続します。
  7. USBコネクタ
    カバーを下にスライドさせて、USB規格の周辺装置を接続します。
  8. スマートカードベイ
    カスタムメイドオプションのスマートカードリーダ/ライタを取り付けます。
  9. CDアクセスランプ(CD-ROMドライブモデル)
    CD-ROMからデータを読み込んでいるときや音楽CDを再生しているときに点灯します。
  10. CD-ROMドライブ(CD-ROMドライブモデル)
    CD-ROMのデータやプログラムを読み出したり、音楽CDを再生したりします。
  11. CD取り出しボタン(CD-ROMドライブモデル)
    CD-ROMや音楽CDをセットするときや取り出すときに押します。パソコン本体の電源が入っているときにお使いになれます。CDアクセスランプが点灯しているときは、押さないでください。
  12. フロッピーディスク取り出しボタン
    フロッピーディスクを取り出すときに押します。
    フロッピーディスクアクセスランプが点灯しているときは、押さないでください。
  13. フロッピーディスクドライブ
    フロッピーディスクをセットしてデータを書き込んだり、読み出したりします。
  14. フロッピーディスクアクセスランプ
    フロッピーディスクにデータを書き込んだり、フロッピーディスクからデータを読み出したりしているときに点灯します。
  15. フット
    本パソコンをお使いになるときに取り付ける台座です。
    縦置きするときには、転倒防止となります。

トップへ 前項目 次項目 索引

All Rights Reserved, Copyright(c) FUJITSU LIMITED 2001