7 プリンタについて
USB接続に対応したプリンタの場合、USBコネクタに接続することもできます(
Click
)。
接続について
プリンタの接続/取り外しを行う場合は、必ずパソコン本体の電源を切り、ACアダプタを取り外してください。
感電の原因となります。
ケーブル類の接続は、本書をよく読み、接続時に間違いがないようにしてください。
誤った接続状態で使用すると、パソコン本体およびプリンタが故障する原因となることがあります。
パソコン本体の電源を切り、ACアダプタを取り外します(→『取扱説明書』)。
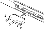
パソコン本体背面のパラレルコネクタに、プリンタケーブルを接続します。
コネクタは、正面から見ると台形になっています。
コネクタの形を互いに合わせてしっかりと差し込み(1)、プリンタケーブルの左右のネジをしめて固定してください(2)。
プリンタに、プリンタケーブルおよび電源ケーブルを接続します。
接続方法は、プリンタのマニュアルをご覧ください。
プリンタに電源ケーブルがつながっている場合もあります。
プリンタの電源ケーブルのプラグをコンセントに差し込み、電源を入れます。
パソコン本体にACアダプタを取り付け、電源を入れます。
初めて接続したプリンタの場合は、ドライバをインストールします。
プリンタのマニュアルをご覧になり、ドライバのインストールを行ってください。
プリンタの接続にはプリンタケーブルが必要です。プリンタケーブルは、プリンタに添付されていないことがあります。また、添付されているものもコネクタの形状により接続できない場合もあります。そのような場合は、接続できるプリンタケーブルを別にお買い求めください。
プリンタの接続方法は、プリンタによって異なります。詳しくは、プリンタに添付のマニュアルをご覧ください。
All Rights Reserved, Copyright(c) FUJITSU LIMITED 2001