トップへ 前項目 次項目

電池交換のしかた

■ ワイヤレスマウスの場合

ワイヤレスマウス裏面に、単4アルカリ乾電池2本を取り付けます。

  1. 電池カバーを取り外します。
画像

  1. 電池を取り出します。
    半透明のシートを引き抜くと、電池が取り出せます。
画像

  1. 新しい電池を取り付けます。
    半透明のシートを電池の下に敷いてください。
    電池のプラス(+)とマイナス(−)の向きを確認して正しく入れてください。
画像

  1. 電池カバーを取り付けます。
画像


■ ワイヤレスキーボードの場合

ワイヤレスキーボード裏面に、単3アルカリ乾電池2本を取り付けます。

  1. 電池カバーを取り外します。
画像

  1. 電池を取り出します。
画像

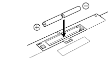
  1. 新しい電池を取り付けます。
    電池のプラス(+)とマイナス(−)の向きを確認して正しく入れてください。
画像

  1. 電池カバーを取り付けます。

画像



トップへ 前項目 次項目

All Rights Reserved, Copyright(c) FUJITSU LIMITED 2001