CDをセットする/取り出す
■ CDをセットする
CD取り出しボタンを押します。
CD取り出しボタンの中央を押すと、CDをセットするトレーが少し出ます。
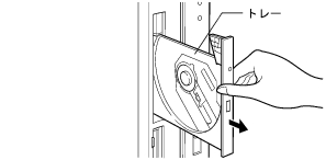
トレーを手で引き出します。
図のようにトレーの中央を持って引き出してください。
CDのレーベル面を左にして、トレーの中央の突起に「パチン」という音がするまではめ込みます。
このとき、パソコン本体が転倒しないようトレーを手で押さえてください。
CDは、必ずトレーの中央の突起に「パチン」と音がするまで、はめ込んでください。きちんとはめ込まないと、故障などの原因となることがあります。
トレーを手で「カチッ」という音がするまで押します。
トレーが本体に入り、CDがセットされます。
CDをセットすると、CDアクセスランプが点灯します。CDアクセスランプが消えるのを確認してから、次の操作に進んでください。
トレーを入れるときにCD取り出しボタンを押すとトレーが正しくセットされません。
■ CDを取り出す
CDの取り出しは、CDアクセスランプが消えているのを確認してから、CD取り出しボタンを押して行ってください。
All Rights Reserved, Copyright(c) FUJITSU LIMITED 2002