トップへ 前項目 次項目 索引

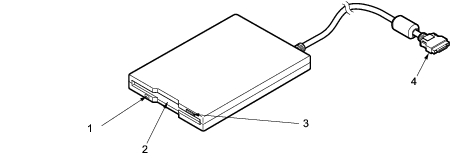
FDDユニット(FMV-NFD324)

お使いのモデルにより、FDDユニット(FMV-NFD324)を添付しています。

画像

  1. アクセスランプ
    フロッピーディスクドライブの動作中に点灯します。
  2. フロッピーディスクドライブ
    フロッピーディスクにデータを書き込んだり、フロッピーディスクからデータを読み出したりします。
  3. フロッピーディスク取り出しボタン
    フロッピーディスクを取り出すときに押します。
  4. 接続コネクタ 
    ポートリプリケータと接続するコネクタです。

トップへ 前項目 次項目 索引

All Rights Reserved, Copyright(c) FUJITSU LIMITED 2002