パソコン本体右側面
ヘッドホン端子、マイク端子に接続するときは、【Fn】+【F8】キーを押してパソコン本体の音量を最小にしてから接続してください。
機器が破損したり、刺激音により聴力に悪い影響を与える原因となることがあります。
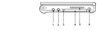
ヘッドホン端子
市販のヘッドホンを接続するための端子です(外径3.5mmのミニプラグに対応)。ただし、形状によっては取り付けられないものがあります。ご購入前に確認してください。
ヘッドホンなどをお使いになるときは、音量を上げすぎないようにご注意ください。耳を刺激するような大きな音量で長時間続けて聞くと、聴力に悪い影響を与える原因となることがあります。
ヘッドホンなどをしたまま電源を入れたり切ったりしないでください。刺激音により聴力に悪い影響を与える原因となることがあります。
マイク端子
市販のマイクを接続し、音声(モノラル)を録音するための端子です(外径3.5mmのミニプラグに対応)。ただし、市販されているマイクの一部の機種(ダイナミックマイクなど)には、使用できないものがあります。ご購入前に確認してください。
PCカード取り出しボタン
PCカードを取り出すときに押します。
「ハードウェア」−「PCカードを取り出す」
PCカードスロット
別売のPCカードをセットするためのスロットです。
「ハードウェア」−「PCカードをセットする」
通気孔
パソコン本体内部の熱を外部に逃がすための穴です。
通気孔はふさがないでください。
内部に熱がこもり、故障の原因となることがあります。
DC-INコネクタ
添付のACアダプタを接続するためのコネクタです。
All Rights Reserved, Copyright(c) FUJITSU LIMITED 2002