トップへ 前項目 次項目 索引

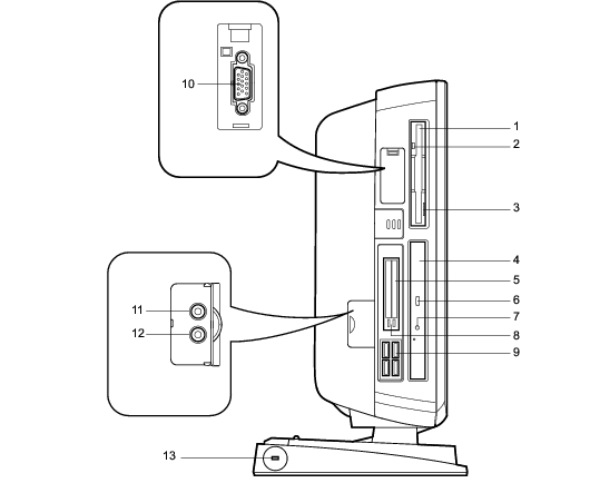
パソコン本体側面

画像

  1. フロッピーディスクドライブ
    フロッピーディスクをセットしてデータを書き込んだり、読み出したりします。
  2. フロッピーディスクアクセスランプ
    フロッピーディスクにデータを書き込んだり、フロッピーディスクからデータを読み出したりしているときに点灯します。
  3. フロッピーディスク取り出しボタン
    フロッピーディスクを取り出すときに押します。
    フロッピーディスクアクセスランプが点灯しているときは、押さないでください。
  4. CD-ROMドライブ
    CD-ROMのデータやプログラムを読み出したり、音楽CDを再生したりします。
  5. PCカードスロット
    PCカードをセットして、使うためのスロットです。ご購入時は、ダミーカードが2枚装着されています。
  6. CD取り出しボタン
    CD-ROMや音楽CDを取り出すときに押します。パソコン本体の電源が入っているときにお使いになれます。CDアクセスランプが点灯しているときは、押さないでください。
  7. CDアクセスランプ
    CD-ROMからデータを読み込んでいるときや音楽CDを再生しているときに点灯します。
  8. PCカード取り出しボタン
    PCカードを取り出すときに押します。
  9. USBコネクタ
    USB規格の周辺機器を接続します。
  10. CRTコネクタ
    アナログRGB規格のディスプレイケーブルを接続し、「Intel® Dual Display Clone」を選択すると両方の画面に同じ画面を出力することができます。
  11. ラインイン端子
    サウンド入力用端子。オーディオ機器の出力端子を接続します。
  12. ラインアウト端子
    サウンド出力用端子。オーディオ機器の入力端子と接続します。
    スピーカーを直接接続する場合は、アンプ機能内蔵のものをお使いください。
    また、この端子に機器を接続しても、本パソコン内蔵のスピーカーはOFFになりません。
  13. 盗難防止用ロック
    市販の盗難防止用ケーブルを接続できます。
ポイント

トップへ 前項目 次項目 索引

All Rights Reserved, Copyright(c) FUJITSU LIMITED 2002