トップへ 前項目 次項目 索引

11 外部ディスプレイについて

接続について

本パソコンは、プロジェクターやCRTディスプレイなどの外部ディスプレイを接続することができます。
ここでは、パソコン本体背面の外部ディスプレイコネクタに、CRTディスプレイを接続する場合について説明します。

警告
感電

注意
故障

  1. パソコン本体の電源を切り、ACアダプタを取り外します(→『取扱説明書』)。
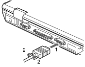
  2. パソコン本体背面の外部ディスプレイコネクタに、ディスプレイケーブルを接続します。
    コネクタは正面から見ると台形になっています。
    コネクタの形を互いに合わせてしっかり差し込み(1)、ディスプレイケーブルの左右のネジで固定します(2)。
    画像
  3. CRTディスプレイにディスプレイケーブルを接続します。
    接続方法は、CRTディスプレイのマニュアルをご覧ください。
  4. CRTディスプレイの電源ケーブルを接続して、電源を入れます。
  5. パソコン本体にACアダプタを取り付け、電源を入れます。
ポイント
  1. 画面の表示を切り替えます。
    【Fn】+【F10】キーを押すと、液晶ディスプレイ→外部ディスプレイ→同時表示→液晶ディスプレイ…の順で表示を切り替えることができます。また、OSの「画面のプロパティ」でも切り替えることができます(→「機能」−「表示装置の切り替え」)。

トップへ 前項目 次項目 索引

All Rights Reserved, Copyright© FUJITSU LIMITED 2004