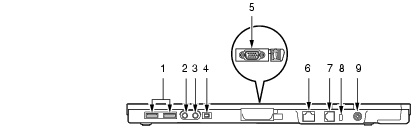
パソコン本体左側面
各コネクタに周辺機器を接続する場合は、コネクタの向きを確かめて、まっすぐ接続してください。
USBコネクタ
FDDユニット(USB)やUSB接続に対応したプリンタなど、USB規格の周辺機器を接続するためのコネクタです。2ポートあります。USB規格の周辺機器をどちらのポートに接続してもかまいません。
本パソコンのUSBコネクタは、USB2.0準拠です。USB1.1およびUSB2.0に対応した機器が接続できます。
ハブなどを経由してUSB2.0に対応した機器を接続した場合、ハブの性能によって接続した機器の性能が低下することがあります。
ヘッドホン端子
市販のヘッドホンを接続するための端子です(外径3.5mmのミニプラグに対応)。ただし、形状によっては取り付けられないものがあります。ご購入前に確認してください。
ヘッドホンなどをお使いになるときは、音量を上げすぎないようにご注意ください。耳を刺激するような大きな音量で長時間続けて聞くと、聴力に悪い影響を与える原因となることがあります。
ヘッドホンなどをしたまま電源を入れたり切ったりしないでください。刺激音により聴力に悪い影響を与える原因となることがあります。
マイク端子、ヘッドホン端子に接続するときは、パソコン本体の音量を最小にしてから接続してください。
機器が破損したり、刺激音により聴力に悪い影響を与える原因となることがあります。
マイク端子
市販のマイクを接続し、音声(モノラル)を録音するための端子です(外径3.5mmのミニプラグに対応)。
ただし、市販されているマイクの一部の機種(ダイナミックマイクなど)には、使用できないものがあります。ご購入前に確認してください。
IEEE1394端子
IEEE1394規格の周辺機器を接続するコネクタです。
外部ディスプレイコネクタ
CRTディスプレイなど、外部ディスプレイを接続するためのコネクタです。
ドッキングステーション接続時には、ドッキングステーションの外部ディスプレイコネクタをお使いください。
「ハードウェア」−「外部ディスプレイについて」
LANコネクタ
LANケーブルを接続するためのコネクタです。
ドッキングステーション接続時には、ドッキングステーションのLANコネクタをお使いください。
「機能」−「内蔵LANについて」
モデムコネクタ
モジュラーケーブルを接続するためのコネクタです。
「機能」−「内蔵モデムについて」
盗難防止用ロック
市販の盗難防止用ケーブルを接続することができます。
盗難防止用ロックは、Kensington社製のマイクロセーバーセキュリティシステムに対応しています。また、パソコン本体とドッキングステーションとをあわせて施錠する場合は、ツインマイクロセーバーをお使いください。
商品名:SLIM MICROSAVER
商品番号:0522011
商品名:ツイン・マイクロセーバー
商品番号:0522030
(富士通コワーコ株式会社 お問い合わせ:03-3342-5375)
DC-INコネクタ
添付のACアダプタを接続するためのコネクタです。
All Rights Reserved, Copyright© FUJITSU LIMITED 2003