周辺機器を取り付ける
内蔵ハードディスク、CD-ROMドライブなどの周辺機器を取り付ける方法は、次のとおりです。
内蔵のSCSI規格の周辺機器を取り付ける場合は、SCSIカードが必要です。あらかじめ取り付けておいてください。
内蔵のSCSI規格の周辺機器を取り付ける場合、SCSI IDを設定する必要があります。内蔵のSCSI規格の周辺機器のマニュアルをご覧になり、他のSCSI規格の周辺機器と重複しないSCSI IDを設定しておいてください。
内蔵のIDE規格の周辺機器を取り付ける場合、あらかじめマスター/スレーブ/ケーブルセレクトの設定をしてください。
電源プラグをコンセントから抜きます。
サイドカバー、アッパーカバー、フロントパネルを取り外します(
Click
)。
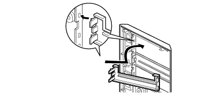
フロントパネルからかくしパネルを取り外します。
必要に応じて、フロントパネルの裏側からかくしパネルを図の矢印のように取り外します。
光磁気ディスクドライブを取り付ける場合は、添付のフロントアクセスベイパネルをフロントパネルに取り付けてください。
パソコン本体からかくし板を取り外します。
ネジ(2ヶ所)を外して取り外します。
周辺機器をパソコン本体に取り付けます。
内蔵ハードディスク以外の周辺機器は、機器の前面がフロントパネルの面と揃う位置に取り付けます。
位置が決まったら、ネジ(4ヶ所)で固定します。
内蔵ハードディスクを取り付けるときは、再度、かくし板を取り付けてください。
フラットケーブルを接続します。
IDE規格の周辺機器を取り付ける場合
下図のセカンダリIDE用ケーブルの「マザーボードに接続」のコネクタが、パソコン本体内部のセカンダリIDEコネクタに接続されています。
マスターとスレーブのコネクタには、次の組み合わせで周辺機器を接続してください。
マスター
スレーブ
CD-ROMのみ
CD-ROM
−
ハードディスク+CD-ROM
ハードディスク
CD-ROM
光磁気ディスク+CD-ROM
光磁気ディスク
CD-ROM
SCSI規格の周辺機器を取り付ける場合
SCSIカード用フラットケーブルの片方のコネクタを、内蔵SCSI規格のコネクタに接続します。もう片方のコネクタを、拡張スロットに取り付けたSCSIカードのコネクタに接続します。
電源ケーブルを接続します。
使っていない電源ケーブルを、取り付けた周辺機器のコネクタに接続します。
フロントパネル、アッパーカバー、サイドカバーを取り付けます。
BIOSセットアップで、取り付けたIDE規格の周辺機器のタイプを設定します。
BIOSセットアップの「Main」−「IDE Drive 3」、「IDE Drive 4」で設定します(通常は「Auto」に設定)(
Click
)。
SCSI規格の周辺機器の場合は、BIOSセットアップの設定を変更する必要はありません。
周辺機器を取り外す場合は、取り付ける手順を参照してください。
ハードディスクや光磁気ディスクドライブを取り付けた後は、次の設定をしてください。
Windows XPモデルの場合
ハードディスクを取り付けた場合、「ディスクの管理」で区画を設定し、フォーマットしてください。「ディスクの管理」は、「スタート」ボタン→「コントロールパネル」→「パフォーマンスとメンテナンス」→「管理ツール」→「コンピュータの管理」で表示される「記憶域」の下にあります。
光磁気ディスクを取り付けた場合、フォーマットしてください。「マイコンピュータ」の「リムーバブルディスク」を右クリックし、「フォーマット」をクリックします。なお、「ファイルシステム」はNTFS以外を選択してください。
Windows 2000モデルの場合
ハードディスクを取り付けた場合、「ディスクの管理」で区画を設定し、フォーマットしてください。「ディスクの管理」は、「スタート」ボタン→「プログラム」→「コンピュータの管理」で表示される「記憶域」の下にあります。
光磁気ディスクを取り付けた場合、MOディスクフォーマッタでフォーマットしてください。MOディスクフォーマッタは、「スタート」ボタン→「プログラム」→「MO Utilities」の順で表示できます。
取り外した金具などは、大切に保管しておいてください。
All Rights Reserved, Copyright© FUJITSU LIMITED 2003