パソコン本体右側面
ヘッドホン端子、マイク端子に接続するときは、【Fn】+【F8】キーを押してパソコン本体の音量を最小にしてから接続してください。
機器が破損したり、刺激音により聴力に悪い影響を与える原因となることがあります。
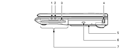
ヘッドホン端子
市販のヘッドホンを接続するための端子です(外径3.5mmのミニプラグに対応)。ただし、形状によっては取り付けられないものがあります。ご購入前に確認してください。
ヘッドホンなどをお使いになるときは、音量を上げすぎないようにご注意ください。耳を刺激するような大きな音量で長時間続けて聞くと、聴力に悪い影響を与える原因となることがあります。
ヘッドホンなどをしたまま電源を入れたり切ったりしないでください。刺激音により聴力に悪い影響を与える原因となることがあります。
マイク端子
市販のマイクを接続し、音声(モノラル)を録音するための端子です(外径3.5mmのミニプラグに対応)。
ただし、市販されているマイクの一部の機種(ダイナミックマイクなど)には、使用できないものがあります。ご購入前に確認してください。
フロッピーディスク取り出しボタン
フロッピーディスクを取り出すときに押します。
「ハードウェア」−「フロッピーディスクについて」
USBコネクタ(ポート4)
USB接続に対応したプリンタなど、USB規格の周辺機器を接続するためのコネクタです。形状によっては取り付けられないものがあります。ご購入前に確認してください。
FMV-7190NU4/B、FMV-718NU4/Bの場合
USB1.1に準拠しているため、USB2.0に対応した機器はお使いになれません。
FMV-7180NU4/BX、FMV-718NU4/BXの場合
USB2.0に準拠しているため、USB1.1およびUSB2.0に対応した機器が接続できます。
ハブなどを経由してUSB2.0に対応した機器を接続した場合、ハブの性能によって接続した機器の性能が低下することがあります。
CDドライブ
CDの情報を読み出したりできます。
お使いのモデルにより、以下のいずれかが取り付けられています。
内蔵CD-ROMドライブ
内蔵CD-R/RWドライブ
内蔵DVD-ROM&CD-R/RWドライブ
「ハードウェア」−「CDについて」
内蔵CD-R/RWドライブや内蔵DVD-ROM&CD-R/RWドライブをお使いになる場合は、『
DVD-ROM&CD-R/RWドライブ、CD-R/RWドライブをお使いになる方へ
』もあわせてご覧ください。
CD取り出しボタン
CDドライブにディスクをセットしたり、取り出すときに押します。
フロッピーディスクドライブ
フロッピーディスクを読み書きします。
「ハードウェア」−「フロッピーディスクについて」
All Rights Reserved, Copyright© FUJITSU LIMITED 2003