パソコン本体背面
各コネクタに周辺機器を接続する場合は、コネクタの向きを確かめて、まっすぐ接続してください。
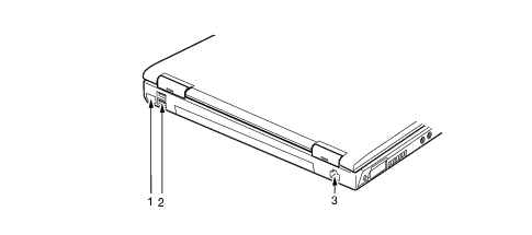
赤外線通信ポート
赤外線通信を行うためのインターフェースです。
赤外線通信ポートは、「ワイヤレスリンク」にてお使いになれます。
赤外線通信を行っているときは、赤外線通信ポートにACアダプタや外部ディスプレイを近づけないでください。ノイズによる誤動作の原因となります。
USBコネクタ
FDDユニット(USB)やUSB接続に対応したプリンタなど、USB規格の周辺機器を接続するためのコネクタです。
USB2.0に準拠しているため、USB1.1およびUSB2.0に対応した機器が接続できます。
ハブなどを経由してUSB2.0に対応した機器を接続した場合、ハブの性能によって接続した機器の性能が低下することがあります。
LANコネクタ
LANケーブルを接続するためのコネクタです。
ポートリプリケータ接続時には、ポートリプリケータのLANコネクタをお使いください。
「機能」−「内蔵LANについて」
All Rights Reserved, Copyright© FUJITSU LIMITED 2004