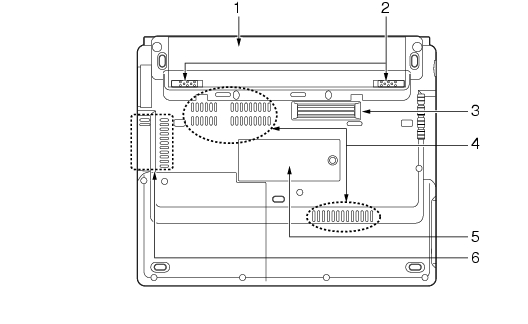
パソコン本体下面
内蔵バッテリパック
内蔵バッテリパックが装着されています。
「ハードウェア」−「バッテリパックを交換する」
内蔵バッテリパックロック
内蔵バッテリパックを取り外すときに内側にスライドさせます。
ポートリプリケータ接続コネクタ
ポートリプリケータを接続するためのコネクタです。
「ハードウェア」−「ポートリプリケータについて」
吸気孔
空気を取り込むための穴です。
吸気孔はふさがないでください。
パソコン本体内部に熱がこもり、故障の原因となることがあります。
拡張RAMモジュールスロット
本パソコンのメモリが取り付けられています。
取り付けられているメモリを交換して、メモリを増やすこともできます。
「ハードウェア」−「メモリについて」
排気孔
パソコン本体内部の熱を外部に逃がすためのものです。
パソコンの電源を入れると、内部のファンが数秒間回転します。また、パソコン本体内部の温度が高くなると内部のファンが回転し、熱が放出されます。このため、起動時や動作中にファンによる回転音が発生しますが、パソコンの冷却のためであり、異常ではありません。
排気孔はふさがないでください。
内部に熱がこもり、故障の原因となることがあります。
排気孔からは熱風が出ます。排気孔付近には手を触れないでください。
排気孔の近くに物を置かないでください。排気孔からの熱で、排気孔の近くに置かれた物が熱くなることがあります。
All Rights Reserved, Copyright© FUJITSU LIMITED 2004