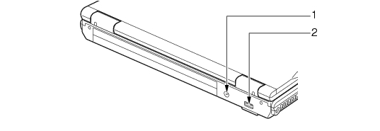
パソコン本体背面
各番号をクリックすると説明箇所へジャンプします。
各コネクタに周辺機器を接続する場合は、コネクタの向きを確かめて、まっすぐ接続してください。
DC-INコネクタ
添付のACアダプタを接続するためのコネクタです。
USBコネクタ
USB接続に対応したプリンタなど、USB規格の周辺機器を接続するためのコネクタです。
USB2.0に準拠しているため、USB1.1およびUSB2.0に対応した機器が接続できます。
ハブなどを経由してUSB2.0に対応した機器を接続した場合、ハブの性能によって接続した機器の性能が低下することがあります。
All Rights Reserved, Copyright© FUJITSU LIMITED 2005