トップへ 前項目 次項目 索引

パソコン本体右側面

各番号をクリックすると説明箇所へジャンプします。

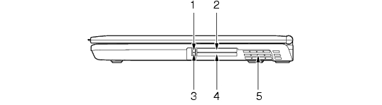
■ E8210の場合

画像

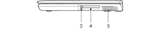
■ E8110の場合

画像

  1. ExpressCard取り出しボタン(E8210の場合のみ)
    ExpressCardを取り出すときに押します。
    「ハードウェア」−「ExpressCardを取り出す」
  2. ExpressCardスロット(画像 )(E8210の場合のみ)
    ExpressCardをセットするためのスロットです。
    「ハードウェア」−「ExpressCardをセットする」
  3. PCカード取り出しボタン
    PCカードを取り出すときに押します。
    「ハードウェア」−「PCカードを取り出す」
  4. PCカードスロット(画像
    PCカードをセットするためのスロットです。
    E8110では、下段がスロット1、上段がスロット2です。
    「ハードウェア」−「PCカードをセットする」
  5. 排気孔
    パソコン本体内部の熱を外部に逃がすためのものです。
    パソコンの電源を入れると、内部のファンが数秒間回転します。また、パソコン本体内部の温度が高くなると内部のファンが回転し、熱が放出されます。
    このため、起動時や動作中にファンによる回転音が発生しますが、パソコンの冷却のためであり、異常ではありません。
注意
PLラベル

重要

トップへ 前項目 次項目 索引

All Rights Reserved, Copyright© FUJITSU LIMITED 2005