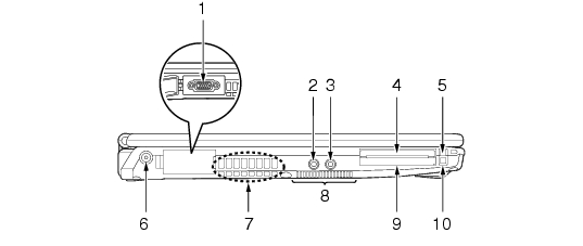
パソコン本体左側面
各番号をクリックすると説明箇所へジャンプします。
各コネクタに周辺機器を接続する場合は、コネクタの向きを確かめて、まっすぐ接続してください。
外部ディスプレイコネクタ(
)
アナログディスプレイなど、外部ディスプレイを接続するためのコネクタです。
「ハードウェア」−「外部ディスプレイについて」
マイク・ラインイン兼用端子(
)
市販のマイクを接続することができます(外径3.5mmのミニプラグに対応)。
ただし、市販されているマイクの一部の機種(ダイナミックマイクなど)には、使用できないものがあります。ご購入前に確認してください。
また、設定を変更することにより、ラインイン端子として使用することもできます。
設定を変更する方法については、
「機能」−「ヘッドホン・ラインアウト兼用端子/マイク・ラインイン兼用端子の機能を切り替える」
をご覧ください。
ヘッドホン・ラインアウト兼用端子(
)
市販のヘッドホンを接続することができます(外径3.5mmのミニプラグに対応)。ただし、形状によっては取り付けられないものがあります。ご購入前に確認してください。
また、設定を変更することにより、ラインアウト端子として使用することもできます。
設定を変更する方法については、
「機能」−「ヘッドホン・ラインアウト兼用端子/マイク・ラインイン兼用端子の機能を切り替える」
をご覧ください。
ヘッドホンやイヤホンをご使用になるときは、音量を上げすぎないでください。
耳を刺激するような大きな音量で聞くと、聴力に悪い影響を与える原因となることがあります。
電源を入れたり切ったりする前には音量を最小にしておいてください。また、ヘッドホンやイヤホンをしたまま、電源を入れたり切ったりしないでください。
突然大きな音や刺激音が出て、聴力に悪い影響を与える原因となることがあります。
ExpressCardスロット(
)
お使いになるExpressCardをセットするためのスロットです。
FeliCa対応リーダ/ライタ搭載モデルの場合は、ExpressCardスロットは搭載されません。
「ハードウェア」−「ExpressCardをセットする」
ExpressCard取り出しボタン
ExpressCardを取り出すときに押します。
FeliCa対応リーダ/ライタ搭載モデルの場合は、ExpressCard取り出しボタンは搭載されません。
「ハードウェア」−「ExpressCardを取り出す」
DC-INコネクタ(
)
添付のACアダプタを接続するためのコネクタです。
排気孔
パソコン本体内部の熱を外部に逃がすためのものです。
パソコンの電源を入れると、内部のファンが数秒間回転します。また、パソコン本体内部の温度が高くなると内部のファンが回転し、熱が放出されます。
このため、起動時や動作中にファンによる回転音が発生しますが、パソコンの冷却のためであり、異常ではありません。
排気孔をふさがないでください。
内部に熱がこもり、火災の原因となることがあります。
排気孔からは熱風が出ます。排気孔付近には手を触れないでください。
排気孔の近くに物を置かないでください。排気孔からの熱で、排気孔の近くに置かれた物が熱くなることがあります。
吸気孔
空気を取り込むための穴です。
吸気孔をふさがないでください。
内部に熱がこもり、火災の原因となることがあります。
PCカードスロット(
)
お使いになるPCカードをセットするためのスロットです。
「ハードウェア」−「PCカードをセットする」
PCカード取り出しボタン
PCカードを取り出すときに押します。
「ハードウェア」−「PCカードを取り出す」
All Rights Reserved, Copyright© FUJITSU LIMITED 2005