トップへ 前項目 次項目 索引

パソコン本体背面

各番号をクリックすると説明箇所へジャンプします。

画像

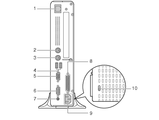
  1. LANコネクタ(画像
    LANケーブルを接続します。
画像

LEDの意味は、次のとおりです。
LANでアクセスしている時 :上部LED緑色点滅
100MbpsでLINKを確立 :下部LEDオレンジ色点灯
  1. キーボードコネクタ(画像
    PS/2キーボードを接続します。
    「ハードウェア」−「キーボードについて」
  2. マウスコネクタ(画像
    PS/2マウスを接続します。
    「ハードウェア」−「マウスについて」
  3. USBコネクタ(画像
    USB規格の周辺機器を接続します。USB2.0に準拠しているため、USB1.1およびUSB2.0に対応した機器が接続できます。
ポイント
  1. ディスプレイコネクタ(画像
    ディスプレイを接続します。アナログRGB規格のディスプレイケーブルが使用できます。
  2. シリアルコネクタ(画像
    RS-232C規格に対応した機器を接続します。
  3. ラインアウト端子(画像
    サウンド出力用端子です。オーディオ機器の入力端子と接続します。
    スピーカーを直接接続する場合は、アンプ機能内蔵のものをお使いください。
    なお、ヘッドホン端子にヘッドホンを接続している場合、ラインアウト端子からは音が出ません。
  4. パラレルコネクタ(画像
    プリンタを接続します。
  5. インレット
    電源ケーブルを接続します。
  6. 盗難防止用ロック取り付け穴
    市販の盗難防止用ケーブルを接続します。

トップへ 前項目 次項目 索引

All Rights Reserved, Copyright© FUJITSU LIMITED 2005