パソコン本体背面の施錠方法
アッパーカバーがきちんと取り付けられていることを確認します。
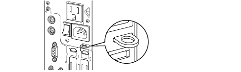
セキュリティ施錠金具の穴径は、φ8mm です。
セキュリティ施錠金具に、市販の鍵を取り付けます。
セキュリティ施錠金具には、次のセキュリティワイヤも使用できます。
商品名:セキュリティワイヤUni.
商品番号:0522015
セキュリティワイヤUni.は、富士通サプライ品です。お問い合わせ先については、『取扱説明書』をご覧ください。
All Rights Reserved, Copyright© FUJITSU LIMITED 2006