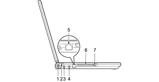
パソコン本体左側面
各番号をクリックすると説明箇所へジャンプします。
各コネクタに周辺機器を接続する場合は、コネクタの向きを確かめて、まっすぐ接続してください。
DC-INコネクタ(
)
添付のACアダプタを接続するためのコネクタです。
バッテリランプ
ACアダプタを接続しているときに点灯します。
バッテリ充電時はオレンジ色に点灯し、満充電時は緑色に点灯します。
マイク・ラインイン兼用端子(
)
市販のマイクを接続することができます(外径3.5mmのミニプラグに対応)。
ただし、市販されているマイクの一部の機種(ダイナミックマイクなど)には、使用できないものがあります。ご購入前に確認してください。
また、設定を変更することにより、ラインイン端子として使用することもできます。
「機能」−「ヘッドホン・ラインアウト兼用端子/マイク・ラインイン兼用端子の機能を切り替える」
ヘッドホン・ラインアウト兼用端子(
)
市販のヘッドホンを接続することができます(外径3.5mmのミニプラグに対応)。ただし、形状によっては取り付けられないものがあります。ご購入前に確認してください。
また、設定を変更することにより、ラインアウト端子として使用することもできます。
「機能」−「ヘッドホン・ラインアウト兼用端子/マイク・ラインイン兼用端子の機能を切り替える」
ヘッドホンやイヤホンをご使用になるときは、音量を上げすぎないでください。
耳を刺激するような大きな音量で聞くと、聴力に悪い影響を与える原因となることがあります。
電源を入れたり切ったりする前には音量を最小にしておいてください。また、ヘッドホンやイヤホンをしたまま、電源を入れたり切ったりしないでください。
突然大きな音や刺激音が出て、聴力に悪い影響を与える原因となることがあります。
モデムコネクタ(
)(モデム搭載モデルのみ)
モジュラーケーブルを接続するためのコネクタです。
内蔵モデムについては
『内蔵モデムをお使いになる方へ』
をご覧ください。
PCカードスロット(
)
お使いになるPCカードをセットするためのスロットです。
「ハードウェア」−「PCカードをセットする」
PCカード取り出しボタン
PCカードを取り出すときに押します。
「ハードウェア」−「PCカードを取り出す」
All Rights Reserved, Copyright© FUJITSU LIMITED 2006