トップへ 前項目 次項目 索引

パソコン本体右側面

各番号をクリックすると説明箇所へジャンプします。

画像

重要
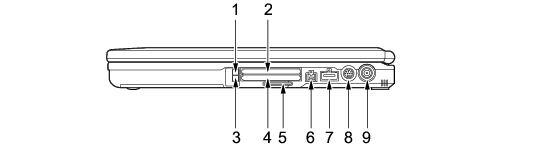
  1. ExpressCard取り出しボタン
    ExpressCardを取り出すときに押します。
    「ハードウェア」−「ExpressCardを取り出す」
  2. ExpressCardスロット(画像
    お使いになるExpressCardをセットするためのスロットです。
    「ハードウェア」−「ExpressCardをセットする」
  3. PCカード取り出しボタン
    PCカードを取り出すときに押します。
    「ハードウェア」−「PCカードを取り出す」
  4. PCカードスロット(画像
    お使いになるPCカードをセットするためのスロットです。
    「ハードウェア」−「PCカードをセットする」
  5. SDメモリーカードスロット
    SDメモリーカードをセットするためのスロットです。
    「ハードウェア」−「SDメモリーカードをセットする」
  6. IEEE(アイトリプルイー)1394(DV)端子(画像
    デジタルビデオカメラ(DVC)や外付けハードディスクなどのIEEE1394規格の周辺機器を接続するためのコネクタです。
    本パソコンと接続する場合は、コネクタが4ピンのケーブルを用意してください。6ピンのケーブルはお使いになれません。
  7. USBコネクタ(画像
    FDDユニット(USB)など、USB規格の周辺機器を接続するためのコネクタです。
    USB2.0に準拠しているため、USB1.1およびUSB2.0に対応した機器が接続できます。
ポイント
  1. ビデオ出力(Sビデオ)端子(画像
    パソコンの映像をテレビに表示するときに、S映像信号を出力するためのコネクタです。
    「ハードウェア」−「外部ディスプレイについて」
  2. DC-INコネクタ(画像
    添付のACアダプタを接続するためのコネクタです。

トップへ 前項目 次項目 索引

All Rights Reserved, Copyright© FUJITSU LIMITED 2006