トップへ 前項目 次項目 索引

1 各部の名称と働き

ここでは、パソコン本体、メインボードの各部の名称と働きを説明します。

ポイント

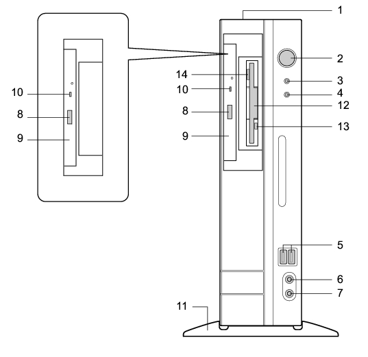
パソコン本体前面

各番号をクリックすると説明箇所へジャンプします。

● カスタムメイドでCD-ROMドライブ(40倍速)を選択した場合
画像

● カスタムメイドでCD-ROMドライブ(24倍速)を選択した場合
画像

  1. 通風孔
    パソコン本体内部を冷却するために熱を外部に逃したり、空気を取り込んだりするための開孔部があります。物を載せたり立てかけたりしないようにご注意ください。横置きにする場合は、通風孔のある面を、壁などから10cm以上離して設置してください。
  2. 電源ボタン(画像
    次の場合に押します。
  3. 電源ランプ(画像
    パソコン本体の電源の状態を表しています。
    緑色に点灯しているときは、電源が入っています。
    オレンジ色に点灯しているときは、スタンバイ状態(省電力状態)です。
  4. ディスクアクセスランプ(画像
    ハードディスクにデータを書き込んだり、ハードディスクからデータを読み出したりしているときに点灯します。また、CD-ROMドライブによっては、CDにアクセスしているときに点灯する場合があります。
  5. USBコネクタ(画像
    USB規格の周辺機器を接続します。USB2.0に準拠しています。
  6. マイク端子(画像
    市販のコンデンサマイクを接続します。
  7. ヘッドホン端子(画像
    市販のヘッドホンを接続します。
    ヘッドホンを接続している間は、パソコン本体のラインアウト端子からは、音が出ません。
  8. CD/DVD取り出しボタン
    CD-ROMや音楽CDをセットするときや取り出すときに押します。パソコン本体の電源が入っているときにお使いになれます。
    CDアクセスランプが点灯しているときは、押さないでください。
  9. CD-ROMドライブ
    CD-ROMのデータやプログラムを読み出したり、音楽CDを再生したりします。
    カスタムメイドの選択によって、次のドライブが取り付けられています。
    「ハードウェア」−「CD/DVDについて」
  10. CDアクセスランプ
    CD-ROMからデータを読み込んでいるときや音楽CDを再生しているときに点灯します。
  11. フット
    本パソコンをお使いになるときに取り付ける台座です(→『取扱説明書』)。
  12. フロッピーディスクドライブ
    カスタムメイドで内蔵FDD追加を選択している場合、フロッピーディスクにデータを書き込んだり、フロッピーディスクからデータを読み出したりします。
    「ハードウェア」−「フロッピーディスクについて」
  13. フロッピーディスクアクセスランプ
    カスタムメイドで内蔵FDD追加を選択している場合、フロッピーディスクにデータを書き込んだり、フロッピーディスクからデータを読み出したりしているときに点灯します。
  14. フロッピーディスク取り出しボタン
    カスタムメイドで内蔵FDD追加を選択している場合、フロッピーディスクを取り出すときに押します。
    フロッピーディスクアクセスランプが点灯しているときは、押さないでください。

トップへ 前項目 次項目 索引

All Rights Reserved, Copyright© FUJITSU LIMITED 2006