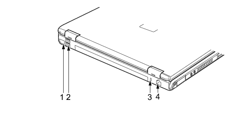
パソコン本体背面
各番号をクリックすると説明箇所へジャンプします。
各コネクタに周辺機器を接続する場合は、コネクタの向きを確かめて、まっすぐ接続してください。
赤外線通信ポート
赤外線通信を行うためのインターフェースです。
赤外線通信ポートは、「ワイヤレスリンク」にてお使いになれます。
赤外線通信をしているときは、赤外線通信ポートにACアダプタや外部ディスプレイを近づけないでください。ノイズによる誤動作の原因となります。
赤外線通信はプラズマカラーテレビやプラズマディスプレイの側では行わないでください。誤作動の原因となります。
USBコネクタ(
)
FDDユニット(USB)やUSB接続に対応したプリンタなど、USB規格の周辺機器を接続するためのコネクタです。
USB2.0に準拠しているため、USB1.1およびUSB2.0に対応した機器が接続できます。
ハブなどを経由してUSB2.0に対応した機器を接続した場合、ハブの性能によって接続した機器の性能が低下することがあります。
盗難防止用ロック取り付け穴
市販の盗難防止用ケーブルを接続することができます。
LANコネクタ(
)
LANケーブルを接続するためのコネクタです。
ポートリプリケータ接続時には、ポートリプリケータのLANコネクタをお使いください。
「機能」−「LANについて」
All Rights Reserved, Copyright© FUJITSU LIMITED 2006