本書のTOPへ 前項目 次項目 索引

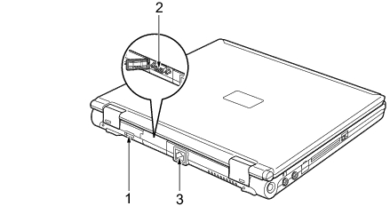
パソコン本体背面

各番号をクリックすると説明箇所へジャンプします。

画像

  1. ワイヤレススイッチ(無線LAN搭載モデルのみ)
    無線LANによる通信のONとOFFを切り替えます。
    病院や飛行機内、その他電子機器使用の規制がある場所では、スイッチをOFFにしてください。
    「機能」−「無線LAN(IEEE 802.11a、IEEE 802.11g準拠)について」
ポイント
  1. 外部ディスプレイコネクタ(画像
    別売のアナログディスプレイなど、外部ディスプレイを接続するためのコネクタです。
    ポートリプリケータ接続時には、ポートリプリケータの外部ディスプレイコネクタをお使いください。
    「ハードウェア」−「外部ディスプレイについて」
  1. LANコネクタ(画像
    LANケーブルを接続するためのコネクタです。
    ポートリプリケータ接続時には、ポートリプリケータのLANコネクタをお使いください。
    「機能」−「LANについて」

本書のTOPへ 前項目 次項目 索引

All Rights Reserved, Copyright© FUJITSU LIMITED 2006