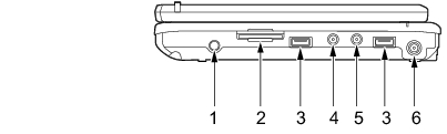
パソコン本体右側面
各番号をクリックすると説明箇所へジャンプします。
各コネクタに周辺機器を接続する場合は、コネクタの向きを確かめて、まっすぐ接続してください。
ペン
タッチパネルを操作するペンが収納されています。
「ハードウェア」−「タッチパネルについて」
SDメモリーカードスロット(
)
SDメモリーカードをセットするためのスロットです。
「ハードウェア」−「SDメモリーカードをセットする」
USBコネクタ(
)
FDDユニット(USB)やUSB接続に対応したプリンタなど、USB規格の周辺機器を接続するためのコネクタです。
USB2.0に準拠しているため、USB1.1およびUSB2.0に対応した機器が接続できます。
ハブなどを経由してUSB2.0に対応した機器を接続した場合、ハブの性能によって接続した機器の性能が低下することがあります。
ヘッドホン端子(
)
市販のヘッドホンを接続することができます(外径3.5mmのミニプラグに対応)。ただし、形状によっては取り付けられないものがあります。ご購入前に確認してください。
ヘッドホンやイヤホンをご使用になるときは、音量を上げすぎないでください。
耳を刺激するような大きな音量で聞くと、聴力に悪い影響を与える原因となることがあります。
電源を入れたり切ったりする前には音量を最小にしておいてください。また、ヘッドホンやイヤホンをしたまま、電源を入れたり切ったりしないでください。
突然大きな音や刺激音が出て、聴力に悪い影響を与える原因となることがあります。
マイク端子(
)
市販のマイクを接続することができます(外径3.5mmのミニプラグに対応)。ただし、市販されているマイクの一部の機種(ダイナミックマイクなど)には、使用できないものがあります。ご購入前に確認してください。
マイク端子には、マイク以外のコネクタを接続しないでください。故障の原因となることがあります。
DC-INコネクタ(
)
添付のACアダプタを接続するためのコネクタです。
All Rights Reserved, Copyright© FUJITSU LIMITED 2006