9 筐体のセキュリティ
パソコン内部のデバイス(ハードディスクやCPUなど)を盗難から守るため、本パソコンに施錠できます。
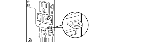
パソコン本体の施錠方法
アッパーカバーがきちんと取り付けられていることを確認します。
セキュリティ施錠金具の穴径は、φ8mm です。
セキュリティ施錠金具に、市販の鍵を取り付けます。
セキュリティ施錠金具には、次のセキュリティワイヤも使用できます。
商品名:セキュリティロックワイヤ.TOP
商品番号:1690290
セキュリティロックワイヤ.TOPは、富士通サプライ品です。お問い合わせ先については、『取扱説明書』をご覧ください。
All Rights Reserved, Copyright© FUJITSU LIMITED 2007