1 各部の名称と働き
ここでは、パソコン本体、メインボードの各部の名称と働きを説明します。
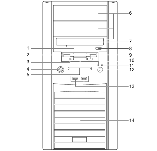
パソコン本体前面
各番号をクリックすると説明箇所へジャンプします。
■ 標準モデル
■ RAIDモデル
CDアクセスランプ
CD-ROMからデータを読み込んでいるときや音楽CDを再生しているときに点灯します。
フロッピーディスクドライブ
フロッピーディスクにデータを書き込んだり、フロッピーディスクからデータを読み出したりします。
「ハードウェア」−「フロッピーディスクについて」
フロッピーディスクアクセスランプ
フロッピーディスクにデータを書き込んだり、フロッピーディスクからデータを読み出しているときに点灯します。
鍵穴
添付の本体カバーキーで、本体カバーを施錠します。
「ハードウェア」−「筐体のセキュリティ」
施錠する場合は、お客様の責任で、本体カバーキーを紛失しないようにしてください。
本体カバーキーを紛失した場合は、引取修理による本体カバーの交換が必要となります。「富士通ハードウェア修理相談センター」にご連絡ください。
なお、保証期間にかかわらず、鍵の紛失による本体カバーの交換は有償となります。
本体カバーキーを紛失した場合は、訪問修理の際も即日修理ができません。
引取修理になりますので、あらかじめご了承ください。
スマートカードベイ(
)
カスタムメイドで選択したスマートカードリーダ/ライタが取り付けられています。
フロントアクセスベイ
内蔵するタイプの周辺機器を取り付けます。
上から順にフロントアクセスベイ1、2、3と並んでいます。
カスタムメイドでフロントアクセスユニットを選択した場合、フロントアクセスベイ1に取り付けられています。
RAIDモデルでは、すでにハードディスクドライブ(以降ハードディスク)が搭載されているので、周辺機器を取り付けることはできません。
「増設」−「周辺機器を取り付ける」
CD-ROMドライブ
CD-ROMのデータやプログラムを読み出したり、音楽用CDを再生したりします。
カスタムメイドの選択によって、次のドライブが取り付けられています。
CD-ROMドライブ
スーパーマルチドライブ
「ハードウェア」−「CD/DVDについて」
CD/DVD取り出しボタン
CD-ROMや音楽CDをセットするときや取り出すときに押します。パソコン本体の電源が入っているときにお使いになれます。
CDアクセスランプが点灯しているときは、押さないでください。
フロッピーディスク取り出しボタン
フロッピーディスクを取り出すときに押します。
フロッピーディスクアクセスランプが点滅しているときは、押さないでください。
ディスクアクセスランプ(
)
ハードディスクにデータを書き込んだり、ハードディスクからデータを読み出したりしているときに点灯します。また、CD-ROMドライブによっては、CDにアクセスしているときに点灯する場合があります。
電源ランプ(
)
パソコン本体の電源の状態を表しています。
緑色に点灯しているときは、電源が入っています。
オレンジ色に点灯しているときは、スタンバイ状態(省電力状態)です。
電源ボタン(
)
次の場合に押します。
パソコン本体の電源を入れるとき
スタンバイ状態(省電力状態)にするとき
「電源オプションのプロパティ」ウィンドウの設定を変更してください。
「機能」−「省電力」
スタンバイ状態から復帰(レジューム)するとき
USBコネクタ(
)
USB規格の周辺機器を接続します。USB2.0に準拠しています。
通風孔
パソコン本体内部を冷却するために空気を取り込みます。
フロントアクセス用HDDアダプタ(以降、HDDアダプタ)
RAID用ハードディスクが内蔵されています。
フロントアクセスユニット鍵穴
添付のフロントアクセスユニット用キーでHDDアダプタを施錠します。ご購入時には施錠されています。
施錠する場合は、お客様の責任で、フロントアクセスユニット用キーを紛失しないようにしてください。
フロントアクセスユニット用キーを紛失した場合は、引取修理による本体カバーの交換が必要となります。
「富士通ハードウェア修理相談センター」にご連絡ください。
なお、保証期間にかかわらず、鍵の紛失による本体カバーの交換は有償となります。
フロントアクセスユニット用キーを紛失した場合は、訪問修理の際も即日修理ができません。
引取修理になりますので、あらかじめご了承ください。
All Rights Reserved, Copyright© FUJITSU LIMITED 2006