パソコン本体背面
各番号をクリックすると説明箇所へジャンプします。
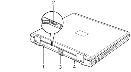
ワイヤレススイッチ(無線LAN搭載モデルのみ)
無線LANによる通信のONとOFFを切り替えます。
病院や飛行機内、その他電子機器使用の規制がある場所では、スイッチをOFFにしてください。
「機能」−「無線LAN(IEEE 802.11a、IEEE 802.11g準拠)について」
無線LANについては、Windows Vistaの場合は
『IEEE 802.11a/g準拠 内蔵無線LANをお使いになる方へ』
、Windows XPの場合は
『IEEE 802.11a/g準拠 内蔵無線LANをお使いになる方へ』
をご覧ください。
外部ディスプレイコネクタ(
)
別売のアナログディスプレイなど、外部ディスプレイを接続するためのコネクタです。
ポートリプリケータ接続時には、ポートリプリケータの外部ディスプレイコネクタをお使いください。
「ハードウェア」−「外部ディスプレイについて」
LANコネクタ(
)
LANケーブルを接続するためのコネクタです。
ポートリプリケータ接続時には、ポートリプリケータのLANコネクタをお使いください。
「機能」−「LANについて」
排気孔
パソコン本体内部の熱を外部に逃がすためのものです。
パソコンの電源を入れると、内部のファンが数秒間回転します。また、パソコン本体内部の温度が高くなると内部のファンが回転し、熱が放出されます。このため、起動時や動作中にファンによる回転音が発生しますが、パソコンの放熱のためであり、異常ではありません。
排気孔をふさがないでください。
内部に熱がこもり、火災の原因となることがあります。
排気孔からは熱風が出ます。排気孔付近には手を触れないでください。
排気孔の近くに物を置かないでください。排気孔からの熱で、排気孔の近くに置かれた物が熱くなることがあります。
All Rights Reserved, Copyright© FUJITSU LIMITED 2007