本書のTOPへ 前項目 次項目 索引

マウスのお手入れ

表面の汚れは、柔らかい布でから拭きします。
汚れがひどい場合は、水または水で薄めた中性洗剤を含ませた布を、固く絞って拭き取ってください。中性洗剤を使用して拭いた場合は、水に浸した布を固く絞って中性洗剤を拭き取ってください。また、拭き取りの際は、マウス内部に水が入らないよう充分に注意してください。なお、シンナーやベンジンなど揮発性の強いものや、化学ぞうきんは絶対に使わないでください。
また、PS/2マウスのボールがスムーズに回転しないときは、ボールを取り外してクリーニングします。ボールのクリーニング方法は、次のとおりです。

  1. マウスの裏ブタを取り外します。
    マウス底面にある裏ブタを、矢印の方向に回して取り外します。
画像

  1. ボールを取り出して、水洗いします。
    マウスをひっくり返し、ボールを取り出します。その後、ボールを水洗いします。
画像

  1. マウス内部をクリーニングします。
    マウス内部、および裏ブタを、水に浸して固くしぼった布で拭きます。
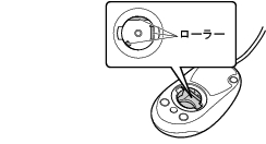
    ローラーは、綿棒で拭きます。
画像

  1. ボール、裏ブタを取り付けます。
    ボールとマウスの内部を充分乾燥させたら、ボールと裏ブタを取り付けます。

本書のTOPへ 前項目 次項目 索引

All Rights Reserved, Copyright© FUJITSU LIMITED 2007