内蔵バッテリパックを交換する
内蔵バッテリパックの交換は、プログラムやデータをハードディスクなどに保存してから行います。
バッテリパックの交換を行う場合は、必ずパソコン本体の電源を切り、ACアダプタを取り外してください。また、パソコン本体やバッテリパックのコネクタに触れないでください。
感電や故障の原因となります。
新しい内蔵バッテリパックは、次の製品をご購入ください。
品名:内蔵バッテリパック
型名:FMVNBP161
品名:内蔵バッテリパック(L)
型名:FMVNBP162
(ご購入元にお問い合わせください)
パソコン本体の電源を切り、ACアダプタを取り外します(→『取扱説明書』)。
液晶ディスプレイを閉じ、パソコン本体を裏返します。
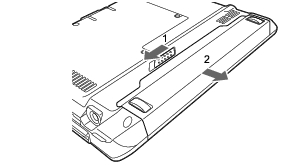
内蔵バッテリパックを取り外します。
内蔵バッテリパックロックを矢印の方向にスライドさせながら(1)、内蔵バッテリパックを取り外します(2)。
新しい内蔵バッテリパックを取り付けます。
新しい内蔵バッテリパックを差し込み、カチッと音がするまでしっかりはめこみます。
取り外した内蔵バッテリパックは、ショート(短絡)防止のために、内蔵バッテリパックのコネクタに絶縁テープを貼るなどの処置をしてください。なお、取り外した内蔵バッテリパックは乾電池などの電池と混ぜないようにしてください。また、内蔵バッテリパック(リチウムイオン電池)は、貴重な資源です。廃棄する場合は、リサイクルにご協力をお願いします。
リサイクルについては、『取扱説明書』をご覧ください。
All Rights Reserved, Copyright© FUJITSU LIMITED 2007