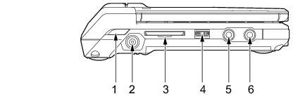
パソコン本体左側面
各番号をクリックすると説明箇所へジャンプします。
各コネクタに周辺機器を接続する場合は、コネクタの向きを確かめて、まっすぐ接続してください。
ワイヤレススイッチ(無線LAN搭載モデルのみ使用可)
無線LANによる通信機能のONとOFFを切り替えます。
病院や飛行機内、その他電子機器使用の規制がある場所では、スイッチをOFFにしてください。
「機能」−「無線LAN(IEEE 802.11a、IEEE 802.11g準拠)について」
無線LANについては、Windows Vistaの場合は
『IEEE 802.11a/g 準拠 内蔵無線LAN をお使いになる方へ』
、Windows XPの場合は
『IEEE 802.11a/g 準拠 内蔵無線LAN をお使いになる方へ』
をご覧ください。
DC-INコネクタ(
)
添付のACアダプタを接続するためのコネクタです。
SDメモリーカードスロット
SDメモリーカードをセットするためのスロットです。
「ハードウェア」−「SDメモリーカードをセットする」
音量ボリューム
音量を調節します。手前側にたおすと小さく、奥側にたおすと大きくなります。また、音量ボリュームを押すとミュート(消音)になります。
音声入出力時のバランスや音量などは、音量を設定する画面で設定できます。音量ボリュームで調節しても、音量が大きすぎたり、小さすぎたりする場合は、画面の音量つまみで調節してください。
「機能」−「音量の設定(Windows Vistaの場合)」
「機能」−「音量の設定(Windows XPの場合)」
音量ボリュームで音量を調節しても音が聞こえない場合は、音量を設定する画面の設定がミュート(消音)になっていないか確認してください。
マイク・ラインイン兼用端子(
)
市販のマイクを接続することができます(外径3.5mmのミニプラグに対応)。
ただし、市販されているマイクの一部の機種(ダイナミックマイクなど)には、使用できないものがあります。ご購入前に確認してください。
また、設定を変更することにより、ラインイン端子として使用することもできます。
「機能」−「ヘッドホン・ラインアウト兼用端子/マイク・ラインイン兼用端子の機能を切り替える(Windows Vistaの場合)」
「機能」−「ヘッドホン・ラインアウト兼用端子/マイク・ラインイン兼用端子の機能を切り替える(Windows XPの場合)」
ヘッドホン・ラインアウト兼用端子(
)
市販のヘッドホンを接続することができます(外径3.5mmのミニプラグに対応)。ただし、形状によっては取り付けられないものがあります。ご購入前に確認してください。
また、設定を変更することにより、ラインアウト端子として使用することもできます。
「機能」−「ヘッドホン・ラインアウト兼用端子/マイク・ラインイン兼用端子の機能を切り替える(Windows Vistaの場合)」
「機能」−「ヘッドホン・ラインアウト兼用端子/マイク・ラインイン兼用端子の機能を切り替える(Windows XPの場合)」
ヘッドホンやイヤホンをご使用になるときは、音量を上げすぎないでください。
耳を刺激するような大きな音量で聞くと、聴力に悪い影響を与える原因となることがあります。
電源を入れたり切ったりする前には音量を最小にしておいてください。また、ヘッドホンやイヤホンをしたまま、電源を入れたり切ったりしないでください。
突然大きな音や刺激音が出て、聴力に悪い影響を与える原因となることがあります。
All Rights Reserved, Copyright© FUJITSU LIMITED 2007