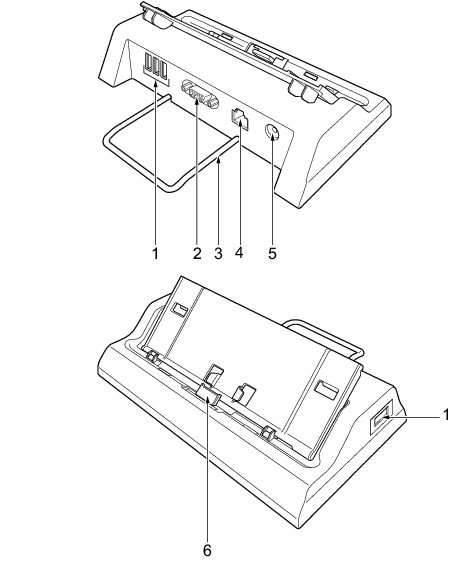
ポートリプリケータ
カスタムメイドの選択によりポートリプリケータを添付しています。
各番号をクリックすると説明箇所へジャンプします。
各コネクタに周辺機器を接続する場合は、コネクタの向きを確かめて、まっすぐ接続してください。
ポートリプリケータ接続時には、パソコン本体のACアダプタはお使いになれません。
USBコネクタ(
)
USB接続に対応したプリンタなど、USB規格の周辺機器を接続するためのコネクタです。4ポートあります。パソコン本体とあわせて5ポートお使いになれます。
USB2.0に準拠しているため、USB1.1およびUSB2.0に対応した機器が接続できます。
ハブなどを経由してUSB2.0に対応した機器を接続した場合、ハブの性能によって接続した機器の性能が低下することがあります。
外部ディスプレイコネクタ(
)
アナログディスプレイなど、外部ディスプレイを接続するためのコネクタです。
「ハードウェア」−「外部ディスプレイについて」
転倒防止バー
パソコンをポートリプリケータに接続したときに、パソコンが転倒するのを防止します。
LANコネクタ(
)
LANケーブルを接続するためのコネクタです。
「機能」−「LANについて」
DC-INコネクタ(
)
添付のACアダプタを接続するためのコネクタです。
接続コネクタ
パソコン本体のポートリプリケータ接続コネクタに接続します。
All Rights Reserved, Copyright© FUJITSU LIMITED 2007