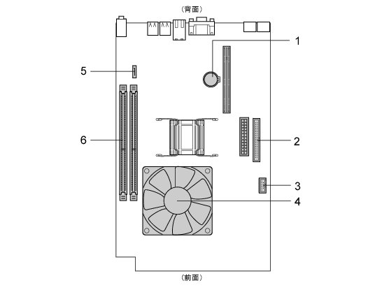
メインボード

各番号をクリックすると説明箇所へジャンプします。

画像 リンク先へ リンク先へ リンク先へ リンク先へ リンク先へ リンク先へ
  1. 内蔵バッテリ
    本パソコンの時計機能とBIOSセットアップで設定した設定値を保存するためのバッテリです。標準の使用状態で約5年間お使いになれます。
  2. IDEコネクタ(IDE1)
    カスタムメイドで光ファイル装置追加を選択している場合、選択したCD/DVDドライブが接続されています。
  3. 内蔵USBコネクタ
    カスタムメイドで内蔵FDD追加を選択している場合、フロッピーディスクドライブが接続されています。または、カスタムメイドでスマートカードリーダ/ライタを選択した場合は、スマートカードリーダ/ライタが接続されています。
  4. CPU/ヒートシンク(CPUファンの下にあります)
  5. シリアルATA3コネクタ
    標準のハードディスクドライブ(RAIDモデルを除く)が接続されています。
    RAIDモデルの場合は、RAIDカードに標準のハードディスクドライブが接続されています。
  6. DIMMスロット
    メモリを取り付けます。
    パソコン本体の前面から見て右から、DIMM1、DIMM2と並んでいます。
    「周辺機器の設置/設定/増設」−「メモリを取り付ける」