4 マウスのお手入れ

重要
  • カスタムメイドの選択により、USBマウス、USBマウス(光学式)、小型マウス(レーザー式)のいずれかが添付されています。

マウスのお手入れの際は、マウスをパソコン本体から取り外してください。
表面の汚れは、柔らかい布でから拭きします。
汚れがひどい場合は、水または水で薄めた中性洗剤を含ませた布を、固く絞って拭き取ってください。また、中性洗剤を使用して拭いた場合は、水に浸した布を固く絞って中性洗剤を拭き取ってください。拭き取りの際は、マウス本体に水が入らないよう充分に注意してください。なお、シンナーやベンジンなど揮発性の強いものや、化学ぞうきんは絶対に使わないでください。

USBマウス(ボール)のお手入れ

USBマウスのボールがスムーズに回転しないときは、ボールを取り外してクリーニングします。ボールのクリーニング方法は、次のとおりです。なお、ボールの形状はお使いのマウスによって異なります。

  1. マウスの裏ブタを取り外します。
    マウスの底面にある裏ブタを、矢印の方向に回して取り外します。
画像
  1. ボールを取り出して、水洗いします。
    ボールを水洗いした後は、充分に乾燥させてください。
画像
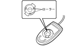
  1. マウスの内部をクリーニングします。
    マウスの内部と裏ブタを、水に浸して固く絞った布でよく拭きます。
    ローラーは、綿棒で拭きます。
画像
  1. ボールと裏ブタを取り付けます。
    ボールとマウスの内部を充分に乾燥させたら、ボールと裏ブタを取り付けます。