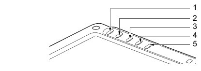
4 タブレットボタン

タブレットボタンは、パソコンの各種機能を呼び出すためのボタンです。ボタンを押すだけでソフトウェアの起動などが行えます。

各番号をクリックすると説明箇所へジャンプします。

画像 リンク先へ リンク先へ リンク先へ リンク先へ リンク先へ
  1. 【Ctrl】+【Alt】+【Delete】ボタン
    2秒以上押し続けると、キーボードで【Ctrl】+【Alt】+【Delete】キーを押したときの動作をします。
  1. Fnボタン
    本パソコン独自のボタンです。他のボタンと組み合わせて使用します。2回押すと本パソコンを使用するのに便利な「Fujitsu Menu」が表示されます。
  1. ローテーションボタン
    画面の縦横の表示を切り替えます。
  1. Bボタン(Page Upボタン)
    前のページに切り替えるときに使います。
  1. Aボタン(Page Downボタン)
    次のページに切り替えるときに使います。
POINT
  • 「Fujitsu Menu」はディスプレイの明るさの設定や、音量の設定などの各種設定を、簡単に行えるメニューです。
  • 「Fujitsu Menu」は必要に応じてアプリケーションの起動を追加登録することができます。
    1. 「Fn」ボタンを2回押します。
      「Fujitsu Menu」が表示されます。
    2. 「編集」をクリックします。
      「Fujitsu Menuの編集」ウィンドウが表示されます。
    3. 「項目の追加と削除」タブの「メニューから選択」または「参照選択」から、追加したいアプリケーションを選択します。
    4. 「追加」ボタンをクリックします。
      メニュー項目に追加したアプリケーションが表示されます。
    5. 「OK」をクリックします。
      「Fujitsu Menu」に項目が追加されます。
  • ボタンパネルを無効にしている場合、「Fn」ボタンを2回押しても「Fujitsu Menu」は表示されません。この場合、通知領域の「Fujitsu Menu」アイコンをダブルクリックすることで表示させることができます。
    通知領域に「Fujitsu Menu」アイコンが表示されない場合は、「C:\Program Files\Fujitsu\Utils\FjMenu.exe」を実行して「Fujitsu Menu」を表示させてください。

「Fn」ボタンを押した後、他のボタンを押すと、次のような機能で使うことができます。

ボタン 機能
Aボタン
電卓が起動します。
Bボタン
Windows Journalが起動します。
POINT
  • 「Fn」ボタンを押した後、AボタンまたはBボタンを押したときに割り当てられている機能を変更できます。
    • Windows Vistaの場合
      1. 「スタート」ボタン→「コントロールパネル」の順にクリックします。
        「コントロールパネル」ウィンドウが表示されます。
      2. 「ハードウェアとサウンド」をクリックします。
        「ハードウェアとサウンド」ウィンドウが表示されます。
      3. 「Tablet PC設定」をクリックします。
        「Tablet PC設定」ウィンドウが表示されます。
      4. 「ボタン」タブをクリックします。
        「タブレットボタン」の一覧で、変更したいタブレットボタンの名前をクリックします。
      5. 「変更」をクリックしてタブレットボタンの設定を変更します。
      6. パソコンを再起動します。
    • Windows XPの場合
      1. 「スタート」ボタン→「コントロールパネル」の順にクリックします。
        「コントロールパネル」ウィンドウが表示されます。
      2. 「プリンタとその他のハードウェア」をクリックします。
        「プリンタとその他のハードウェア」ウィンドウが表示されます。
      3. 「タブレットとペンの設定」をクリックします。
        「タブレットとペンの設定」ウィンドウが表示されます。
      4. 「タブレットのボタン」タブをクリックします。
        「タブレットボタン」の一覧で、変更したいタブレットボタンの名前をクリックします。
      5. 「変更」をクリックしてタブレットボタンの設定を変更します。
      6. パソコンを再起動します。
  • 変更したタブレットボタンの設定が有効になるのは、再起動後です。
  • すべてのタブレットボタンを変更できるわけではありません。
  • Windows XPの場合、コントロールパネルの「タブレットとペンの設定」ウィンドウは、通知領域にある「タブレットとペンの設定を変更します」をダブルクリックしても表示できます。