ポートリプリケータ

本パソコンには、ポートリプリケータは添付されていません。
お使いになる場合は、別売のポートリプリケータをご購入ください。

番号をクリックすると説明箇所へジャンプします。

画像 リンク先へ リンク先へ リンク先へ リンク先へ リンク先へ リンク先へ リンク先へ
重要
  • 各コネクタに周辺機器を接続する場合は、周辺機器とポートリプリケータの、それぞれのコネクタの向きを確認し、まっすぐ接続してください。
  • パソコンにポートリプリケータを接続した時は、パソコン本体のACアダプタ、LANコネクタ、外部ディスプレイコネクタは使用できません。
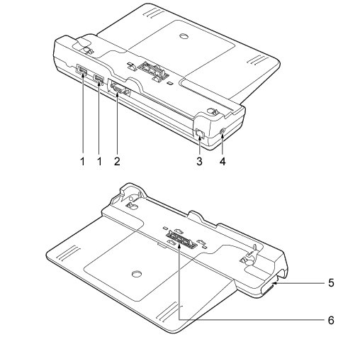
  1. USBコネクタ(画像
    FDDユニット(USB)やUSB接続に対応したプリンタなど、USB規格対応の機器を接続します。
    USB2.0に準拠しているため、USB1.1およびUSB2.0に対応した機器が接続できます。
POINT
  • ハブなどを経由してUSB2.0に対応した機器を接続した場合、経由させる機器の性能によっては、接続した機器の性能が低下することがあります。
  1. 外部ディスプレイコネクタ(画像
    プロジェクタやアナログディスプレイなど、外部ディスプレイを接続します。
    「取り扱い」−「表示可能なディスプレイの組み合わせ」
    「取り扱い」−「マルチモニタ機能」
  2. LANコネクタ(画像
    LANケーブルを接続します。
    「取り扱い」−「LAN(有線LAN)」
  3. DC-INコネクタ(画像
    ポートリプリケータに添付のACアダプタを接続します。
重要
  • ポートリプリケータのDC-INコネクタにはポートリプリケータに添付のACアダプタを接続してください。パソコン本体に添付のACアダプタはご使用になれません。
  1. ポートリプリケータ取り外しレバー(画像
    ポートリプリケータをパソコン本体から取り外す場合にレバーを起こします。
    「周辺機器の設置/設定/増設」−「ポートリプリケータ」
  2. 本体接続コネクタ
    パソコン本体下面にあるポートリプリケータ接続コネクタを接続します。
    パソコンとポートリプリケータを接続するためのコネクタです。