ポートリプリケータ

ポートリプリケータはカスタムメイドです。標準添付はされておりません。

番号をクリックすると説明箇所へジャンプします。

画像 リンク先へ リンク先へ リンク先へ リンク先へ リンク先へ リンク先へ リンク先へ リンク先へ
重要
  • 各コネクタに周辺機器を接続する場合は、周辺機器とポートリプリケータの、それぞれのコネクタの向きを確認し、まっすぐ接続してください。
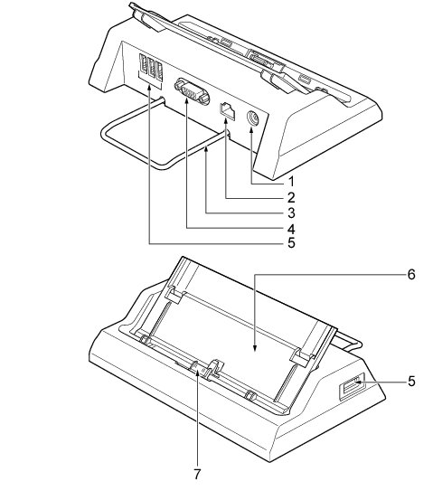
  1. DC-INコネクタ(画像
    ACアダプタを接続します。
  2. LANコネクタ(画像
    LANケーブルを接続します。
    「取り扱い」−「LAN(有線LAN)」
  3. 転倒防止バー
    パソコン本体をポートリプリケータに接続したときに、転倒するのを防止します。
  4. 外部ディスプレイコネクタ(画像
    プロジェクタやアナログディスプレイなど、外部ディスプレイを接続します。
    「取り扱い」−「外部ディスプレイ」
  5. USBコネクタ(画像
    USB接続に対応したプリンタなど、USB規格の周辺機器を接続します。
    USB2.0に準拠しているため、USB1.1およびUSB2.0に対応した機器が接続できます。
POINT
  • ハブなどを経由してUSB2.0に対応した機器を接続した場合、経由させる機器の性能によっては、接続した機器の性能が低下することがあります。
  1. ドッキングガイド
    本パソコンをポートリプリケータに正確に取り付けるためのガイドです。
    ポートリプリケータをお使いになる場合は、必ずドッキングガイドをポートリプリケータに取り付けてください。
  2. 本体接続コネクタ
    パソコン本体前面にあるポートリプリケータ接続コネクタを接続します。
    パソコンとポートリプリケータを接続するためのコネクタです。