メインボード

番号をクリックすると説明箇所へジャンプします。

画像 リンク先へ リンク先へ リンク先へ リンク先へ
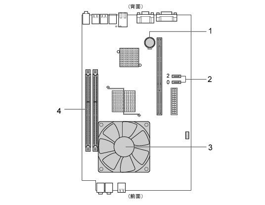
  1. 内蔵バッテリ
    本パソコンの時計機能とBIOSセットアップで設定した設定値を保存するためのバッテリです。標準の使用状態(1日約8時間)で約5年間お使いになれます。
  2. シリアルATAコネクタ
    シリアルATAコネクタ0に、標準のハードディスクドライブが接続されています(カスタムメイドでRAIDを選択した場合を除く)。
    カスタムメイドでCD/DVDドライブを選択した場合、シリアルATAコネクタ2にCD/DVDドライブが接続されています。
  3. CPU/ヒートシンク(CPUファンの下にあります)
  4. DIMMスロット
    メモリが取り付けられています。
    「周辺機器の設置/設定/増設」−「メモリ」