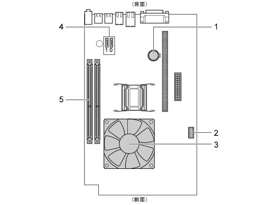
メインボード

番号をクリックすると説明箇所へジャンプします。

画像 リンク先へ リンク先へ リンク先へ リンク先へ リンク先へ
  1. 内蔵バッテリ
    本パソコンの時計機能とBIOSセットアップで設定した設定値を保存するためのバッテリです。標準の使用状態で約5年間お使いになれます。
  2. 内蔵USBコネクタ
  3. CPU/ヒートシンク(CPUファンの下にあります)
  4. シリアルATAコネクタ
    シリアルATAコネクタ0に、標準のハードディスクドライブが接続されています。
    また、シリアルATAコネクタ1に、CD/DVDドライブが接続されています。
  5. DIMMスロット
    メモリが取り付けられています。
    「周辺機器の設置/設定/増設」−「メモリ」