本ページで紹介している製品は、2011年5月発表のものです。中には現在発売されていないものも含まれています。また価格や制度につきましては発表当時のものです。ご了承ください。
最新のパソコン製品情報はこちら

|
|

|
|

|
|

|
|

|
|

|
|

|
|
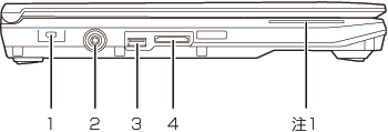
| 注1 | : | Blu-ray Disc ドライブ搭載機種のみ |
| 注2 | : | スーパーマルチドライブ搭載機種のみ |

|
|

|
|

|
|
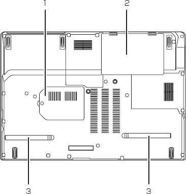
| 注1 | : | このスロットは使用できません。 |

|

|
|

|
|

|
|