トップへ 前項目 次項目 索引

1 各部の名称と働き

ここでは、ワークステーション本体、メインボードの各部の名称と働きを説明します。

ワークステーション本体前面

画像

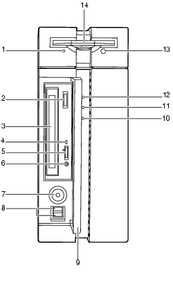
  1. フロッピーディスクアクセスランプ
    フロッピーディスクにデータを書き込んだり、フロッピーディスクからデータを読み出したりしているときに点滅します。
  2. CD取り出しボタン
    CD(CD-ROMや音楽CD)をセットするときや、取り出すときに押します。
    CDアクセスランプが点滅しているときは押さないでください。
  3. CD-ROMドライブ
    CDのデータやプログラムを読み出します。
    カスタムメイドの選択によっては、次のドライブが取り付けられています。
  4. CDアクセスランプ
    CDからデータを読み込んでいるときに点滅します。
  5. ヘッドホンボリューム(音楽CDのみ)
    ヘッドホンを接続したときに、ヘッドホンの音量を調整します。
  6. ヘッドホン端子(音楽CDのみ)
    市販のヘッドホンで音楽CDを聴くときに、ヘッドホンを接続します。
  7. 電源ボタン
    ワークステーション本体の電源を入れるときや、OSの設定によりスタンバイ状態(省電力状態)にするとき、またはスタンバイ状態から復帰させるときに押します。
  8. USBコネクタ(画像
    USB規格(1.1準拠)の周辺機器を接続します。
  9. フロントパネル
    電源ボタンやCD-ROM、USBコネクタを使用する場合に開きます。
  10. リセットスイッチ
    メモリ内のデータ消去、OSなどのソフトウェアの再読み込み、および各種オプションカード、ハードディスクドライブなどの周辺機器を初期化するときに押します。
    リセットスイッチを押すときは、クリップを伸ばしたものなどで1秒間押します。
ポイント
  1. ディスクアクセスランプ
    ハードディスクにデータを書き込んだり、ハードディスクからデータを読み出したりしているときに点滅します。また、CD-ROMドライブによっては、CDにアクセスしているときに点滅する場合があります。
  2. 電源ランプ
    ワークステーション本体に電源が入っていないときは消灯しています。
    ワークステーション本体に電源が入っているときは緑色に点灯します。
    スタンバイ状態のときはオレンジ色に点灯します。
  3. フロッピーディスク取り出しボタン
    フロッピーディスクを取り出すときに押します。
    フロッピーディスクアクセスランプが点滅しているときは押さないでください。
  4. フロッピーディスクドライブ
    フロッピーディスクにデータを書き込んだり、フロッピーディスクからデータを読み出したりします。

トップへ 前項目 次項目 索引

All Rights Reserved, Copyright© FUJITSU LIMITED 2003