本書のTOPへ 前項目 次項目 索引

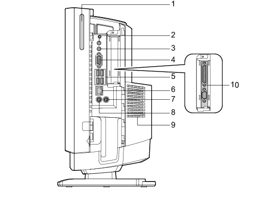
パソコン本体右側面

各番号をクリックすると説明箇所へジャンプします。

画像

  1. スマートカードベイ(画像
    カスタムメイドで選択したスマートカードリーダ/ライタを取り付けます。
  1. ラインアウト端子(画像
    サウンド出力用端子です。オーディオ機器の入力端子と接続します。
    スピーカーを直接接続する場合は、アンプ機能内蔵のものをお使いください。なお、本パソコンのご購入時のラインアウトの設定は次のとおりとなっています。
  1. ラインイン端子(画像
    サウンド入力用端子です。オーディオ機器の出力端子と接続します。
  1. ディスプレイコネクタ
    外付けのディスプレイを接続します。アナログRGB規格のディスプレイケーブルが使用できます。
    「機能」−「ディスプレイ関連」
  1. USBコネクタ(画像
    USB規格の周辺機器を接続します。USB 2.0に準拠しています。
  1. LANコネクタ(画像
    LANケーブルを接続します。
画像

LEDの意味は、次のとおりです。

1000MbpsでLINKを確立
100MbpsでLINKを確立
10MbpsでLINKを確立

データ転送中:緑色点滅
  1. マウスコネクタ(画像
    PS/2マウスを接続します。
    「ハードウェア」−「マウスについて」
  1. キーボードコネクタ(画像
    PS/2キーボードを接続します。
    「ハードウェア」−「キーボードについて」
  1. 通風孔
    パソコン本体内部の熱を外部に逃すための開孔部があります。ふさがないようにご注意ください。
  1. パラレルコネクタ/シリアルコネクタ用スロット
    カスタムメイドで選択したパラレルコネクタとシリアルコネクタが取り付けられています。
    パラレルコネクタやシリアルコネクタにケーブルを接続する場合は、コネクタカバーのスロット部分を開いてください。
    「パラレルコネクタやシリアルコネクタにケーブルを接続する場合」

■ パラレルコネクタやシリアルコネクタにケーブルを接続する場合

次の手順でコネクタカバーのスロット部分を開いてください。

  1. パソコン本体からコネクタカバーを取り外します。
    取り外す方法は『取扱説明書』をご覧ください。
  2. コネクタカバーのスロット部分を取り外します。
画像

  1. パソコン本体にコネクタカバーを取り付けます。
    取り付け方法は『取扱説明書』をご覧ください。

本書のTOPへ 前項目 次項目 索引

All Rights Reserved, Copyright© FUJITSU LIMITED 2007