トップへ 前項目 次項目 索引

1 各部の名称と働き

ここでは、ワークステーション本体、マザーボードの各部の名称と働きを説明します。

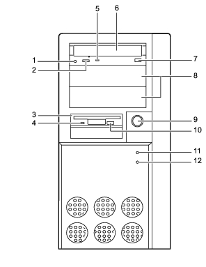
ワークステーション本体前面

画像

  1. ヘッドホン端子(音楽CDのみ)
    市販のヘッドホンで音楽CDを聴くときに、ヘッドホンを接続します。
  2. ヘッドホンボリューム(音楽CDのみ)
    ヘッドホンを接続したときに、ヘッドホンの音量を調整します。
  3. フロッピーディスクドライブ
    フロッピーディスクにデータを書き込んだり、フロッピーディスクからデータを読み込んだりします。
  4. フロッピーディスクアクセスランプ
    フロッピーディスクにデータを書き込んだり、フロッピーディスクからデータを読み込んだりしているときに点灯します。
  5. CDアクセスランプ
    CD-ROMからデータを読み込んでいるときや、音楽CDを再生しているときに点灯します。
  6. CD-ROMドライブ
    CD-ROMのデータやプログラムを読み出したり、音楽用CDを再生したりします。
  7. CD取り出しボタン
    CD-ROMをセットするときや、取り出すときに押します。
  8. ファイルベイ
    各種ドライブを取り付けます。
  9. 電源ボタン
    ワークステーション本体の電源を入れるときや、スタンバイにするときに押します。
  10. フロッピーディスク取り出しボタン
    フロッピーディスクを取り出すときに押します。フロッピーディスクアクセスランプが点灯しているときは押さないでください。
  11. 電源ランプ
    ワークステーション本体に電源が入っていないときは消灯しています。
    ワークステーション本体に電源が入っているときは緑色に点灯します。
    スタンバイモードのときは緑色に点滅します。
  12. ディスクアクセスランプ
    ハードディスクにデータを書き込むときや、ハードディスクからデータを読み込むときに点灯します。

トップへ 前項目 次項目 索引

All Rights Reserved, Copyright(c) FUJITSU LIMITED 2002