トップへ 前項目 次項目 索引

メモリ/C-RIMMを取り付ける

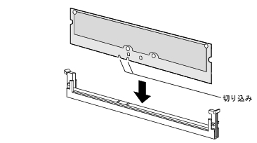
  1. メモリまたはC-RIMMをスロットに垂直に差し込みます。
    コンタクト部分の切り込みで向きを判断して、正しく差し込んでください。
画像

  1. 左右のレバーでモジュールを固定します。
画像

  1. メモリボードを取り付けます。
  2. サイドカバーとトップカバーを取り付けます。

トップへ 前項目 次項目 索引

All Rights Reserved, Copyright(c) FUJITSU LIMITED 2002